Oliver Jetson
|
| posted on 3/2/05 at 09:39 AM |
|
|
Richard Miles R1 Exhaust Design
Does anyone have a saved copy of Richard Miles' design for the Exhaust system that he had made for his R1 powered Sylva Striker?
(His website is currently not online)
If so would you be able to post it up on here please?
Thanks,
Oli
|
|
|
|
|
ChrisGamlin
|
| posted on 3/2/05 at 10:08 AM |
|
|
I havent but Im in contact with Rich so may be able to get hold of it. He was talking last week of getting the website back up and running again, so
I'll email him anyway and see how thats going.
Chris
|
|
|
progers
|
| posted on 3/2/05 at 10:53 AM |
|
|
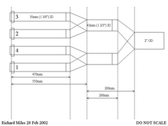
Oli,
Here it is. I ran this design on my MK Indy R1 and it worked fine. I've actually gone for a different design on my new build just to see if there
is much difference in power characteristics.
Cheers
Paul
  Rescued attachment exhaust.jpg
|
|
|
Oliver Jetson
|
| posted on 4/2/05 at 03:43 PM |
|
|
Cheers guys,
Regarding MKs standard exhaust system that they do for £300 including the silencer - is it a repackable silencer?
Cheers,
Oli
|
|
|