panichat
|
| posted on 24/4/08 at 01:28 PM |
|
|
Flares
Hi
You do a male flare to connect a male union to a female hole (like a t-piece or a wheel cylinder).
You do a female flare to connect female union to a male ended pipe with a male union on it.
What is the double flare for?
Cheers
Dave
|
|
|
|
|
caber
|
| posted on 24/4/08 at 01:44 PM |
|
|
Gave up wearing flares in the 70s
Caber
|
|
|
balidey
|
| posted on 24/4/08 at 01:52 PM |
|
|
I thought the double flare was to suit female union, ie the 'double' part is where is flares out, then flares back in giving a kind of
bulb end
|
|
|
Mr Whippy
|
| posted on 24/4/08 at 01:52 PM |
|
|
I was stunned not that long ago in finding several bags of my parents flares from the 70's still in perfect condition, have to say they look
quite smart some with very fancy embroidery pattern and flowers on the bottom of the legs.
Probably quite collectable now, no I haven’t been brave enough to wear them
|
|
|
balidey
|
| posted on 24/4/08 at 01:53 PM |
|
|
some info here...
http://www.integerspin.co.uk/brakeflare.htm
|
|
|
Mr Whippy
|
| posted on 24/4/08 at 01:56 PM |
|
|
here you go, a drawing for highjacking your thread as usual
  Rescued attachment flare.jpg
|
|
|
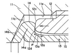
02GF74
|
| posted on 24/4/08 at 02:08 PM |
|
|
there are two types of flares:
single (top one) made by former and double (lower) required second pass to push in the stikcy out bit.
Use your noggin as to which should be used where by looking at the other fitting, shown on right as below.
And yes, there will be a fitting that goes over the pipe (not shown) that screws in or over the fitting.
  Rescued attachment bp fittings.JPG
|
|
|
caber
|
| posted on 24/4/08 at 02:09 PM |
|
|
Mr Whippy save us your embarrassment - ebay is your friend
Caber
|
|
|
Mr Whippy
|
| posted on 24/4/08 at 02:25 PM |
|
|
quote: Originally posted by caber
Mr Whippy save us your embarrassment - ebay is your friend
Caber
I bet there going to be back in fashion, you'll see, that and huge funny collars
You are the dancing queen, young and sweet, only seventeen...oh oh ohhhhh!
|
|
|
panichat
|
posted on 24/4/08 at 03:18 PM |
|
|
Thanks

|
|
|
skidude88
|
| posted on 24/4/08 at 03:59 PM |
|
|
more pic & info
Was only looking in to this last night
More info and pics Here
(Possibly using American terminology)
Managed to cash in a favour with a local garage, to make a few ends up for me
Early MK de-Dion CBR1000 FJ-FP.
|
|
|