Printable Version | Subscribe | Add to Favourites
New Topic New Poll New Reply
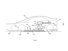
Author: Subject: McMurtry fan car patents
Rod Ends

posted on 23/6/24 at 12:19 PM Reply With Quote
McMurtry fan car patents

[img] patent fig. 1
patent fig. 1
[/img]

Read all about it

View User's Profile View All Posts By User U2U Member

New Topic New Poll New Reply


go to top






Website design and SEO by Studio Montage

All content © 2001-16 LocostBuilders. Reproduction prohibited
Opinions expressed in public posts are those of the author and do not necessarily represent
the views of other users or any member of the LocostBuilders team.
Running XMB 1.8 Partagium [© 2002 XMB Group] on Apache under CentOS Linux
Founded, built and operated by ChrisW.