tr
|
| posted on 20/6/05 at 03:37 PM |
|
|
Dizzy Cap
Does anyone happen to know which plug on the dizzy cap goes to which cylinder? I can't find the bit in the haynes manual so I thout I'd
ask here as your mostly a helpful bunch!
I know the rotor goes clockwise and I know the cylinder firing order, I'm just not sure which is number one....
It's a 1.8 Pinto, motorcraft dizzy (I think).
What would be the consequences of getting it wrong? Could I just try them one at a time, only 4 options?
Should this be in the electic section ?
Cheers
Tom
|
|
|
|
|
stevebubs
|
| posted on 20/6/05 at 04:57 PM |
|
|
Take dizzy cap off and plugs out.
Turn engine with spanner until you can feel cylinder 1 (front) is in compression (put fingers over spark plug hole)
The dizzy rotor should just be coming up to match up with a dizzy cap position.
This is where #1 should be. Fit the other leads in the correct firing order (normally 1 2 4 3)
HTH
S
If you get them 180 degrees out then you'll just get a lot of backfires and spitbacks when you turn it over.
[Edited on 20/6/05 by stevebubs]
|
|
|
stevebubs
|
| posted on 20/6/05 at 04:58 PM |
|
|
quote: Originally posted by tr
What would be the consequences of getting it wrong? Could I just try them one at a time, only 4 options?
It won't run!
Seriously though, it shouldn't cause any real damage but the engine may make a few loud backfires and spitbacks if they're wrong.
|
|
|
dr-fastlane
|
| posted on 20/6/05 at 05:40 PM |
|
|
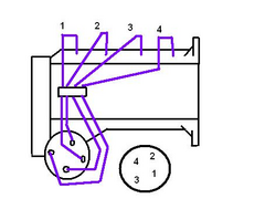
Perhaps this is helpfull.
Cheers,
Roy
  Rescued attachment naamloos.JPG
------------------------------
I have not failed once. I have successfully found ways that will not work!
https://www.motor-forum.nl/threads/hardtail-dragstyle-project.343482/
|
|
|
tr
|
| posted on 20/6/05 at 09:46 PM |
|
|
That is spectacular!
Ta very much
Cheers
Tom
|
|
|
tr
|
| posted on 21/6/05 at 10:07 PM |
|
|
Tried that combination, as it happens it's what I'd half scribbled down when I took the engine out of the Sierra all that time ago.
It's not working right though, the exhaust manifold gets really hot really quick. Almost like the fuel is combusting after the exhaust valve has
opened. I get the odd backfire too...
Not knowing much about engines and that...
Whats the best thing to check? Nothing much has moved since it last ran really. I was thinking of checking valve clearences and then getting a strobe
to check the timing?
One more thing to note is I've only got the bare minimum attatched to the ingnition wiring loom, but as all four plugs are sparking I think
(!?!) this is enough for now.
Any clues?
Cheers
Tom
|
|
|